設計公司老闆必看!如何降低公司的隱藏成本與浪費
設計與施工過程中哪些隱形成本吃掉你的毛利?
在室內設計與施工流程中,如果管理不當,很容易造成看不見的成本增加,這不是甚麼特殊案例,幾乎大部分的設計師(公司)都遇過類似的麻煩問題,例如報價錯誤、局部工程做錯重做、或是規格溝同不良造成浪費等,這些原本沒有估算到的隱形成本,輕則吃掉部分毛利,嚴重則做到虧錢,甚至造成客戶糾紛與形象傷害,得不償失~~
設計師都知道會有這些問題,但這些問題卻常常在管理層面上持續被忽略或容忍…這是為什麼?? 追根究柢有兩大原因:
- 部分設計師的管理思維薄弱,有點想做卻沒執行力、嫌麻煩或沒有好工具;
- 大部分設計公司都是5人以下的規模,資源有限,沒有投入正確的資源在做有效的管理,所以這些人為的模糊點與盲點自然就不時出現。
設計師因為有吃虧的經驗,知道風險的存在,下次新案子來,怕又虧錢就偷偷藏點錢,在資訊不對稱的容許範圍內讓報價變貴一點,但其實「管理能力」並沒有因此而顯著改變,這是一個惡性循環,設計公司如果把管理不當的隱形成本當作業主要共同承擔的風險,業主花更多的錢卻沒有享受到更好的品質,客戶體驗只會更差,公司形象價值與業績就很難成長。
產生的惡性循環只會讓正常設計公司面臨更大的競爭壓力,這其實也是讓設計蟑螂不斷出現主因之一~~
設計公司該注意哪些地方才能避免錯誤或疏失的發生,這裡我整理常見導致成本增加的管理問題,以下分為「設計管理」、「施工管理」與「溝通協作」三大類來看,並且藉由GoBridge雲端數位管理平台的功能來說明如何避免,提升效率,降低成本。
一、設計端管理不當
- 設計圖不完整或頻繁更改
- 圖面細節不足、尺寸不清,銜接交介面沒有交代清楚,導致施工現場需要不斷調整。
- 業主或設計師臨時改變想法,沒有完善的變更管理規範,造成重工或追加材料。
- 設計圖或施工圖沒有做好版本與變更管理,雜亂難追蹤,易出錯。
- 設計師與業主缺乏溝通或溝通不良產生認知誤差,例如櫃深造成的空間壓縮與視覺效果。
- 材料選擇與規格未明確
- 僅標註「地磚」卻未指定品牌或規格,現場容易出現差異,增加比價與返工成本。
- 缺乏完整的材料與工種參考表,需要的時候才從舊的報價單上找。
- 有案件才會跟廠商去要報價單,溝通方式、報價規範、廠商習慣、合作流程等沒有統一標準,造成前後案件變異大,缺乏可參考性與可比較性。
- 缺乏可施工性考量
- 設計過於理想化或沒有考量施工技術,未顧及施工難度,造成施工時間延長或需要額外工法。
- 施工前期規劃與環境準備不夠詳細,造成施工規劃與現場狀況不符。
- 對於工程施工團隊的技能沒有掌握清楚,程度參差不齊,品質難接受。
èGoBridge能幫設計師做什麼?
- 設計圖是設計與施工的橋梁,圖的溝通會因為圖說不清、版本錯誤、資訊傳遞落差或認知不同產生誤解。GoBridge提供完整的設計圖面管理,分門別類將設計圖分門別類歸檔,建立版本與相關變更資訊。

讓設計師、業主與工務能線上瀏覽,隨時用手機、平板或電腦都可以查閱,解決各種溝通與資訊傳遞上的問題。

- 設計過程中的需求是最重要的基礎,很多時候需求並沒有被完整記錄與更新,或零散記錄在不同的地方,例如Line、筆記本或是腦袋裡,到了設計階段才靠片段的記憶拼拼湊湊產出設計圖與報價,然後在設計修改的討論過程中也沒有完整記錄、追蹤與確認,所以浪費很多時間在設計變更,甚至產生版本不一致等疏失。
GoBridge提供完整的需求紀錄與更新介面,讓設計師與業主都能完全理解,並取得共識,這些都是設計的基礎,不浪費時間在不斷修改與誤會中。

設計師的線上報價介面能完整呈現成本、單價、毛利與各項資訊,當然部分資訊不會呈現在業主面前,例如成本與毛利等,這些資訊有助於設計師做出最適合的報價單,必免傳統用Excel報價上容易出錯的問題發生。
同時也提供範本管理功能,讓工種與材料的報價資訊能根據不同案場來選擇最適合的版本,並且不斷更新與建立新的範本。

二、施工端管理不當
- 工期排程不佳
- 不同工種(木工、油漆、水電)交叉衝突,導致等待、返工。
- 工班缺乏紀律或忙碌與其他案件,不按排程施工,浪費與拖延。
- 工程進度掌握能力差,延誤導致租金、人工成本額外增加。
- 現場監工不足
- 無專人控管品質,施工錯誤發現太晚,只能返工。
- 缺乏工程管理經驗或沒有長期合作可信賴的工務專業人員。
- 施工流程無檢核機制,造成細節瑕疵累積。
- 材料進出場管理鬆散
- 材料存放不當(潮濕、損耗、遺失),增加重新採購成本。
- 現場材料數量未精準控管,導致超買或短缺。
- 施工團隊缺乏衛生與環境維護紀律,造成抱怨甚至罰款。
èGoBridge能幫設計師做什麼?
- GoBridge提供工程管理功能,解決不同工種進場的排程與進度追蹤管理問題,讓工程的預計時程與實際時程能夠對照,及時管理延誤的狀況。

- 工程項目也會進一步生成排班表,讓設計師能根據進場順序、施工日期、案場的規範與業主要求的條件下,進行每周的進場排班表。

(參考圖表)
- 包含每天的工作日誌紀錄,把工程進度、現場況狀回報與溝通等重要任務完成在同一個流程中。工務、設計師與業主都可以針對每天的狀況進行完整的溝通,避免工地管理不善、材料凌亂缺損或甚至危險的情況發生。

三、溝通協作不當
- 業主、設計、施工三方溝通不良
- 缺乏明確變更紀錄與確認(例如簽名),口頭承諾造成爭議與追加費用。
- 設計意圖與施工方式誤解,導致返工。
- 多人在同一群組(例如Line)發言與回覆,沒有標準規範造成誤解。
- 與社區、鄰居沒有建立良好關係,處處被刁難,施工困難。
- 缺乏成本控制機制
- 未建立預算控管表,導致額外追加項目無法及時反應。
- 沒有完整記錄需求、工時、交通、增補材料與工程等,難追蹤額外成本。
- 缺乏「變更單」制度,導致施工方自行追加,業主最後才知超支。
- 驗收與品管流程不嚴謹
- 驗收僅憑目測,未依照規範檢查,事後發現問題需大規模修復。
- 驗收標準一開始就沒講清楚,雙方對驗收歧見無法收斂
- 沒有嚴格要求驗收前後的各項規範(例如入住即視為驗收同意),發生後難以按原定驗收流程進行檢驗。
èGoBridge能幫設計師做什麼?
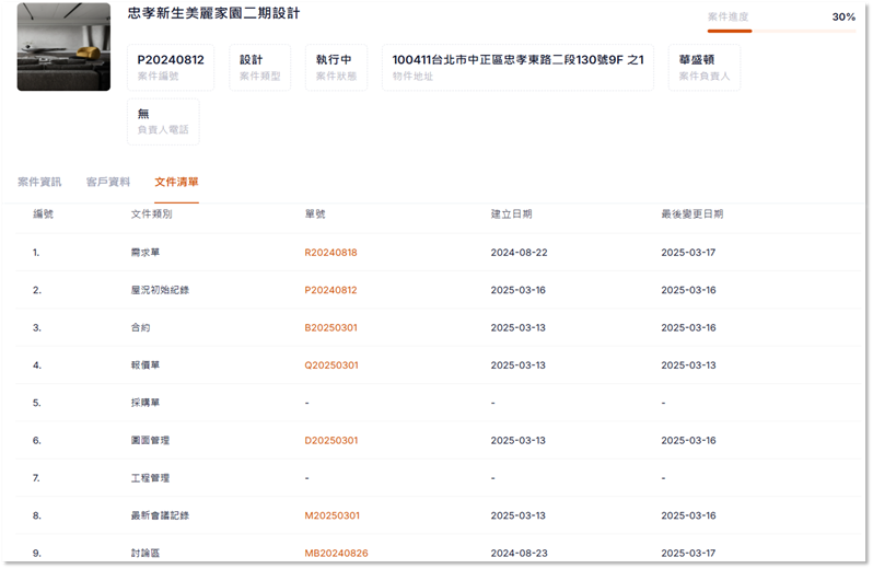
- 以GoBridge為例,它把案件的相關文件、會議、對話、圖面、紀錄、文字與圖片資訊等都串連在同一個案件上,讓設計師高效有序的管理案件的大小事,改變與業主互動的模式,避免資訊疏漏、遺失或資訊落差。

- 設計與裝修途中的「追加減」是正常且經常發生的事,透明溝通是最好的保險,變更的流程應該具備三個基本要素:原始需求或規格文件、變更需求(會議記錄確認)、變更報價與確認(追加減)。這樣才能完整追蹤與消除所有模糊空間,避免糾紛。GoBridge功能,如上圖所示的案件文件清單中,可以找到原來需求與報價單、設計圖面、會議記錄與確認,並且可以啟動報價的追加減流程,如下圖所示,進行最後的確認動作。

- 會議記錄是管理面很重要的一環,常常雙方在溝通中用的方式都是非正式的溝通,例如Line或口頭告知,無法成為一個紀錄、追蹤與確認的基礎,GoBridge提供完整的會議紀錄與確認功能,甚至業主可以線上確認,避免後續糾紛。

- 完工驗收是一個成果的展現,如果在過程中都能互動良好,最後完工驗收的那一刻比較不會出現意外,好的客戶體驗能夠讓雙方在愉快合理的情況下進行驗收流程,當然驗收這件事情也不是一次就完成,通常會經歷幾次的來回,把該修補的該改善的完成後才能真正完成驗收程序。GoBridge提供完整的驗收流程功能,包含內部驗收與外部驗收,結合驗收紀錄與線上確認的功能,讓最後的驗收程序能夠圓滿完成。
✅ 結論
室內設計與施工成本增加,最核心的原因往往不是單一失誤,而是「管理缺失」,設計師執著於設計本身,不見得認同管理的價值,還是回到最根本,心態的改變是最困難的。一定得逐步把管理層面能顧及的點轉化成可執行的標準作業模式,進而形成高效的公司文化,這是品牌建立非常重要的基礎。
如上面分類所示,若能 在設計初期確認完整圖面、建立變更單流程、加強監工與成本追蹤,就能有效降低大部分不必要的支出。
現實上,要避免所有的風險是困難的,畢竟設計公司人力與資源都有限,不可能處處規範完整與時時監控,這樣要投入的管理成本對比其效益顯然不切實際,但是設計師一定要開始有管理意識與自我檢討過程,萬事起頭難,不能因為怕麻煩就不做,設計師如果是公司的負責人,就不能只當藝術家,也要有經營的理念才行,否則公司就很難穩定成長。
- 已訂閱GoBridge設計師們:加入Line@官方粉絲團,取得更多資源。
- 尚未訂閱GoBridge的設計師們:可以透過填寫表單,線上訂閱或申請試用,馬上取得優惠。
- 導入數位管理系統:馬上瞭解GoBridge,建立設計師的專業形象,每天10分鐘,業主更信賴,管理更高效。
本文由林義評整理撰寫,天禧資訊共同創辦人,長期協助各產業數位轉型,擅長雲端與AI科技領域的應用,曾擔台灣微軟事業群總經理、台灣花旗銀行資訊長、台灣優利系統總經理、IBM大中華區資深協理等要職。
聯繫郵件: suinegniv@gmail.com
Line ID: vingenius






