裝修糾紛-3:設計師如何做好管理,業主滿意免糾紛!
數位平台提升管理能力,幫設計師化解糾紛
接續上篇文章,本文要談的是從設計師的角度來看,如何透過數位管理能力的提升來避免或化解潛在的糾紛,重複上一篇的一段重點,設計公司最重要最核心價值,除了設計本身以外,就是「管理能力」,再更明確來講是要有高效有序的管理能力,也就是「管理」+「數位化」(請參閱設計公司的數位管理 - 該怎麼做?),時代不一樣了,網路發達,消費者與設計公司之間的資訊落差會逐漸縮小,因為資訊取得越來越方便,AI的興起也會讓設計的直觀價值受到衝擊,因為視覺化的生成技術門檻已經大大降低,設計公司必須要強化設計與施工管理的能力,才能真正展現新價值。
==> 業主找設計師,不能只看作品、報價,要看管理能力
==> 設計師提供專業服務,不能只是設計、施工,要有管理能力
不過話說前頭,設計公司往往沒有花足夠的資源與時間在管理上,尤其牽涉到數位化管理模式,室內設計師對數位工具導入卻步,想做又一直只是觀望,根本原因是 「心態上覺得浪費時間」 、 「溝通與協作流程多變」與「缺乏迫切感與執行能力」。(設計公司的數位管理 - 你還在觀望嗎 ???)
設計公司的負責人必須要花更多時間在管理上,即使是設計師專業人員也應該每天30分鐘在管理層面的事務上,抗拒的心態會讓管理無效,問題與糾紛自然會發生。
設計裝修公司會遇到哪些糾紛? 如何化解?
參照台北市室內設計裝修商業同業公會(TAID)在八月所舉辦的一場講座,就談到從設計師來看,如何能避免設計裝修過程中發生的糾紛(TAID專業講座|如何避免室內設計裝修糾紛) 來看設計公司本身會遇到那些風險,我一樣借用GoBridge雲端數位管理平台的工具能力,說明如何透過數位管理化解這些糾紛。
- 設計師遇到糾紛需要專業鑑定:
糾紛如果走到需要專業鑑定的地步,如何鑑定現場施工落差、如何找出問題點、問題修繕等紀錄與現況就是關鍵重點。
設計師與業主雙方爭議的協調,都需要找出設計階段的溝通紀錄與圖說完整性以及問題的因果,要避免雙方對責任範圍的理解落差、契約不明、圖說模糊等議題,才能有效化解糾紛,如同上一篇文章對消費者的觀點而言,首先最好能建立一套設計裝修的數位履歷,設計師與業主共同參與設計裝修這個過程,凡走過必留下痕跡,用一個數位履歷展現全貌,就像購買一個有機食品,食品本身提供整產銷履歷,讓過程透明化並且可被追朔,設計師完整保留資料與紀錄,業主也能清楚知道錢都花在哪裡。以下借用GoBridge的平台案例,這是一個完整的功能流程,從認識客戶開始一路到驗收的管理流程,都可以在平台上完成,形成設計裝修的數位履歷。

同時,也可以利用GoBridge平台的功能,協助業主進行室內裝修工程許可的申請,以及設計公司對於工程的保險需求,現在各縣市對於裝修許可的要求越來越嚴格,必須要避免後續雙方在法規遵循面的糾紛發生。

- 要避免延誤,必須從管理抓起
參考文章設計公司的數位管理 - 該怎麼做?,設計師必須要有管理思維,先要有管理思維,再導入數位化 。
「設計」核心基礎 + 「管理」創造品質 è 打造品牌價值
「設計」核心基礎 + 「管理」創造品質 +「 數位」提升價值 è 建立成長優勢
裝修工期與各項爭議的發生其實是管理問題,不是技術問題,比如工班安排不當、人力不足、材料延遲等,都是可預防的狀況。講師建議設計師應制定清楚的施工排程表,並於合約中載明「變更設計」對工期的影響與責任歸屬,才能避免業主與廠商互相指責。
以GoBridge工具案例來說明,平台把案件進度整合在管理流程上,設計公司通常同時會有多個案件在進行中,有些已經簽約,有些還在談需求,有些是設計案,有些是工程案,這些是住家有些是商空,這些內容都一覽無遺,讓設計師能掌握所有大方向與細節,讓管理真正上軌道,避免糾紛的發生。

許多中小型設計公司內部會放置一部NAS做文件的歸檔,分門別類把資料都按造案件存放在檔案目錄裡,這樣的工具有助於資料儲存,但對於資訊整合、業主溝通與確認、團隊協作或專案管理流程來講沒有直接的幫助。以GoBridge為例,它把案件的相關文件、會議、對話、圖面、紀錄、文字與圖片資訊等都串連在同一個案件上,讓設計師高效有序的管理案件的大小事,改變與業主互動的模式,避免資訊疏漏、遺失或資訊落差。

- 變更設計需書面確認
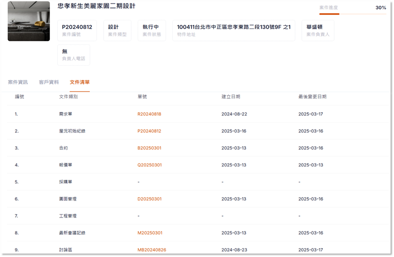
設計與裝修途中的「追加減」是正常且經常發生的事,透明溝通是最好的保險,變更的流程應該具備三個基本要素:原始需求或規格文件、變更需求(會議記錄確認)、變更報價與確認(追加減)。這樣才能完整追蹤與消除所有模糊空間,避免糾紛。
GoBridge功能,如上圖所示的案件文件清單中,可以找到原來需求與報價單、設計圖面、會議記錄與確認,並且可以啟動報價的追加減流程,如下圖所示,進行最後的確認動作。

- 圖說完整是溝通關鍵
設計圖是設計與施工的橋梁,圖的溝通會因為圖說不清、版本錯誤、資訊傳遞落差或認知不同產生誤解。
GoBridge提供完整的設計圖面管理,分門別類將設計圖分門別類歸檔,建立版本與相關變更資訊,讓設計師、業主與工務能線上瀏覽,隨時用手機、平板或電腦都可以查閱,解決各種溝通與資訊傳遞上的問題。


- 報價誠實透明,避免後續扯皮
避免為了贏得案子就先低價搶案,後續追加一堆項目不只讓業主反感,也損害整體產業形象。
GoBridge提供設計公司一套完整的線上報價流程,設計師跟業主的報價能夠來回溝通,保留不同報價版本以方便比對,最後業主再選擇最適合的版本進行確認;後續在工程過程中有變更的需求時,也可以透過線上報價系統進行追加減的流程,整個過程都會完整保留,讓雙方都能透明溝通,建立信賴感。
設計師的線上報價介面能完整呈現成本、單價、毛利與各項資訊,當然部分資訊不會呈現在業主面前,例如成本與毛利等,這些資訊有助於設計師做出最適合的報價單,必免傳統用Excel報價上容易出錯的問題發生。

- 訂立契約,是彼此的保障
簽正式合約是很基本的要求,GoBridge提供線上合約與傳統線下合約的模式讓合約與相關配套文件能完整呈現在平台上,也提供線上簽名的功能讓業主直接簽約。有了線上可隨時瀏覽的合約,雙方對於權利義務能夠更清楚彼此的責任。


- 驗收與保固要有共識
完工驗收是一個成果的展現,如果在過程中都能互動良好,最後完工驗收的那一刻比較不會出現意外,好的客戶體驗能夠讓雙方在愉快合理的情況下進行驗收流程,當然驗收這件事情也不是一次就完成,通常會經歷幾次的來回,把該修補的該改善的完成後才能真正完成驗收程序。
驗收過程必須是清楚記錄與溝通,GoBridge提供完整的驗收流程功能,包含內部驗收與外部驗收,結合驗收紀錄與線上確認的功能,讓最後的驗收程序能夠圓滿完成。
以上是以設計師觀點來看,如何透過數位管理能力的提升來避免或化解潛在的糾紛,並且用GoBridge這個流程化的雲端數位管理平台來做操作執行上的案例說明,提供給所有設計師夥伴們參考。
- 已訂閱GoBridge設計師們:加入Line@官方粉絲團,取得更多資源。
- 尚未訂閱GoBridge的設計師們:可以透過填寫表單,線上訂閱或申請試用,馬上取得優惠。
- 導入數位管理系統:馬上瞭解GoBridge,建立設計師的專業形象,每天10分鐘,業主更信賴,管理更高效。
本文由林義評整理撰寫,天禧資訊共同創辦人,長期協助各產業數位轉型,擅長雲端與AI科技領域的應用,曾擔台灣微軟事業群總經理、台灣花旗銀行資訊長、台灣優利系統總經理、IBM大中華區資深協理等要職。
聯繫郵件: suinegniv@gmail.com
Line ID: vingenius






